Skip to main content Accessibility help
×
Hostname: page-component-857557d7f7-nhjpk Total loading time: 0 Render date: 2025-11-24T19:29:16.267Z Has data issue: false hasContentIssue false

1 - A Qualitative Overview of MHD

from Part I - From Maxwell’s Equations to Magnetohydrodynamics

Published online by Cambridge University Press:  09 February 2017

P. A. Davidson
Affiliation:
University of Cambridge

Summary

Information

Type
Chapter
Information
Publisher: Cambridge University Press
Print publication year: 2016

1 A Qualitative Overview of MHD

The neglected borderland between two branches of knowledge is often that which best repays cultivation, or, to use a metaphor of Maxwell’s, the greatest benefits may be derived from a cross-fertilisation of the sciences.

Rayleigh, 1884

1.1 What Is MHD?

Magnetic fields influence many natural and man-made flows. They are routinely used in industry to heat, pump, stir and levitate liquid metals. There is the terrestrial magnetic field which is maintained by fluid motion in the earth’s molten core, the solar magnetic field, which generates sunspots and solar flares, and the interplanetary magnetic field which spirals outward from the sun, carried by the solar wind. The study of these flows is called magnetohydrodynamics (MHD, for short). Formally, MHD is concerned with the mutual interaction of fluid flow and magnetic fields. The fluids in question must be electrically conducting and non-magneticFootnote 1, which limits us to liquid metals, hot ionised gases (plasmas) and strong electrolytes.

The mutual interaction of a magnetic field, B, and a velocity field, u, arises partially as a result of the laws of Faraday and Ampère, and partially because of the Lorentz force experienced by a current-carrying body. The exact form of this interaction is analysed in detail in the following chapters, but perhaps it is worth stating now, without any form of proof, the nature of this coupling. It is convenient, although somewhat artificial, to split the process into three parts.

  1. (i) The relative movement of a conducting fluid and a magnetic field causes an electromotive force (EMF) (of order |u × B|) to develop in accordance with Faraday’s law of induction. In general, electrical currents will ensue, the current density being of order σ(u × B), σ being the electrical conductivity.

  2. (ii) These induced currents must, according to Ampère’s law, give rise to a second, induced magnetic field. This adds to the original magnetic field and the change is usually such that the fluid appears to ‘drag’ the magnetic field lines along with it.

  3. (iii) The combined magnetic field (imposed plus induced) interacts with the induced current density, J, to give rise to a Lorentz force (per unit volume) of J × B. This acts on the conductor and is generally directed so as to inhibit the relative movement of the magnetic field and the fluid.

Note that these last two effects have similar consequences. In both cases the relative movement of fluid and field tends to be reduced. Fluids can ‘drag’ magnetic field lines (effect (ii)) and magnetic fields can pull on conducting fluids (effect (iii)). It is this partial ‘freezing together’ of the medium and the magnetic field which is the hallmark of MHD.

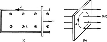
These effects are, perhaps, more familiar in the context of conventional electrodynamics. Consider a wire loop which is pulled through a magnetic field as shown in Figure 1.1. As the wire loop is pulled to the right, an EMF of order |u × B| is generated which drives a current as shown (effect (i)). The magnetic field associated with the induced current perturbs the original magnetic field and the net result is that the magnetic field lines seem to be dragged along by the wire (effect (ii)). The current also gives rise to a Lorentz force, J × B, which acts on the wire in a direction opposite to that of the motion (effect (iii)). Thus it is necessary to provide a force, F, to move the wire. In short, the wire appears to drag the field lines while the magnetic field reacts back on the wire, tending to oppose the relative movement of the two.

Figure 1.1 Interaction of a magnetic field and a moving wire loop.

Let us consider effect (ii) in a little more detail. As we shall see later, the extent to which a velocity field influences an imposed magnetic field depends on the product of (i) the typical velocity of the motion, (ii) the conductivity of the fluid, and (iii) the characteristic length scale, , of the motion. Clearly, if the fluid is non-conducting or the velocity negligible there will be no significant induced magnetic field. (Consider the wire shown in Figure 1.1. If it is a poor conductor or moves very slowly, then the induced current and the associated magnetic field will be weak.) Conversely if σ or u is (in some sense) large, then the induced magnetic field may substantially alter the imposed field. The reason is important is a little less obvious but may be clarified by the following argument. The EMF generated by a relative movement of the imposed magnetic field and the conducting medium is of order |u × B| and so, by Ohm’s law, the induced current density is of the order of σ|u × B|. However, a modest current density spread over a large area can produce a strong magnetic field, whereas the same current density spread over a small area induces only a weak magnetic field. It is therefore the product σu which determines the ratio of the induced field to the applied magnetic field. In the limit σu → ∞ (typical of so-called ideal conductors), the induced and imposed magnetic fields are of the same order. In such cases it turns out that the combined magnetic field behaves as if it were locked into the fluid. Conversely, when σu → 0, the imposed magnetic field remains relatively unperturbed. Astrophysical MHD tends to be closer to the first situation, not so much because of the high conductivity of the plasmas involved, but because of the vast characteristic length scale. Liquid-metal MHD, on the other hand, usually lies closer to the second limit, with u leaving B relatively unperturbed. Nevertheless, it should be emphasised that effect (iii) is still strong in liquid metals, so that an imposed magnetic field can substantially alter the velocity field.

Perhaps it is worth taking a moment to consider the case of liquid metals in a little more detail. They have a reasonable conductivity (~106Ω−1m−1) but the velocity involved in a typical laboratory or industrial process is low (~1 m/s). As a consequence, the induced current densities are generally rather modest (a few Amps per cm2). When this is combined with a small length scale (~0.1 m in the laboratory) the induced magnetic field is usually found to be negligible by comparison with the imposed field. There is very little ‘freezing together’ of the fluid and the magnetic field. However, the imposed magnetic field is often strong enough for the Lorentz force, J × B, to dominate the motion of the fluid. We tend to think of the coupling as being one-way: B controls u through the Lorentz force, but u does not substantially alter the imposed field, B. There are, however, exceptions. Perhaps the most important of these is the earth’s dynamo. Here, motion in the liquid-metal core of the earth twists, stretches and intensifies the terrestrial magnetic field, maintaining it against the natural processes of decay. It is the large length scales which are important here. While the induced current densities are weak, they are spread over a large area and as a result their combined effect is to induce a substantial magnetic field.

In summary, then, the freezing together of the magnetic field and the medium is usually strong in astrophysics, significant in geophysics, weak in metallurgical MHD, and utterly negligible in electrolytes. However, the influence of B on u can be important in all four situations.

1.2 A Brief History of MHD

The laws of magnetism and fluid flow are hardly a twentieth-century innovation, yet MHD became a fully fledged subject only in the late 1930s or early 1940s. The reason, probably, is that there was little incentive for nineteenth-century engineers to capitalise on the possibilities offered by MHD. Thus, while there were a few isolated experiments by nineteenth-century physicists such as Faraday (he tried to measure the voltage across the Thames induced by its motion through the earth’s magnetic field), the subject languished until the turn of the century. Things started to change, however, when astrophysicists realised just how ubiquitous magnetic fields and plasmas are throughout the universe. This culminated in 1942 with the discovery of the Alfvén wave, a phenomenon which is peculiar to MHD and important in astrophysics. (A magnetic field line can transmit transverse inertial waves, just like a plucked string.) Around the same time, geophysicists began to suspect that the earth’s magnetic field was generated by dynamo action within its liquid-metal core, an hypothesis first put forward in 1919 by Larmor in the context of the sun’s magnetic field. A period of intense research followed and continues to this day.

Plasma physicists, on the other hand, acquired an interest in MHD in the 1950s as the quest for controlled thermonuclear fusion gathered pace. They were particularly interested in the stability, or lack of stability, of plasmas confined by magnetic fields, and great advances in stability theory were made as a result. Indeed, stability techniques developed in the 1950s and 1960s by the plasma physicists have since found application in many other branches of fluid mechanics.

The development of MHD in engineering was slower and did not really get going until the 1960s. However, there was some early pioneering work by the engineer J. Hartmann, who invented the electromagnetic pump in 1918. Hartmann also undertook a systematic theoretical and experimental investigation of the flow of mercury in a homogeneous magnetic field. In the introduction to the 1937 paper describing his researches he observed:

The invention [his pump] is, as will be seen, no very ingenious one, the principle utilised being borrowed directly from a well-known apparatus for measuring strong magnetic fields. Neither does the device represent a particularly effective pump, the efficiency being extremely low due mainly to the large resistivity of mercury and still more to the contact resistance between the electrodes and the mercury. In spite hereof considerable interest was in the course of time bestowed on the apparatus, firstly because of a good many practical applications in cases where the efficiency is of small moment and then, during later years, owing to its inspiring nature. As a matter of fact, the study of the pump revealed to the author what he considered a new field of investigation, that of flow of a conducting liquid in a magnetic field, a field for which the name Hg-dynamics was suggested.

The name, of course, did not stick, but we may regard Hartmann as the father of liquid-metal MHD, and, indeed, the term ‘Hartmann flow’ is now used to describe duct flows in the presence of a magnetic field. Despite Hartmann’s early researches, it was only in the early 1960s that MHD began to be exploited in engineering. The impetus for change came largely as a result of three technological innovations: (i) fast-breeder reactors use liquid sodium as a coolant, and this needs to be pumped; (ii) controlled thermonuclear fusion requires that the hot plasma be confined away from material surfaces by magnetic forces; and (iii) MHD power generation, in which ionised gas is propelled through a magnetic field, was thought to offer the prospect of improved power station efficiencies. This last innovation turned out to be quite impracticable, and its failure was rather widely publicised in the scientific community. However, as the interest in power generation declined, research into metallurgical MHD took off. Three decades later, magnetic fields are routinely used to heat, pump, stir and levitate liquid metals in the metallurgical industries. The key point is that the Lorentz force provides a non-intrusive means of controlling the flow of metals. With constant commercial pressure to produce cheaper, better and more consistent materials, MHD provides a unique means of exercising greater control over casting and refining processes.

So there now exist at least four overlapping communities who study MHD. Astrophysicists are concerned with the galactic magnetic field, the behaviour of (magnetically active) accretion discs, and the dynamics of stars. Planetary scientists study the generation of magnetic fields within the interior of planets, while plasma physicist are interested in the behaviour of magnetically confined plasmas. Finally, engineers study liquid-metal MHD, mostly in the context of the metallurgical industries. These communities have, of course, many common aims and problems, but they tend to use rather different vocabularies and occasionally have different ways of conceiving the same phenomena.

1.3 From Electrodynamics to MHD: A Simple Experiment

Now, the only difference between MHD and conventional electrodynamics lies in the fluidity of the conductor. This makes the interaction between u and B more subtle and difficult to quantify. Nevertheless, many of the important features of MHD are latent in electrodynamics and can be exposed by simple laboratory experiments. An elementary grasp of electromagnetism is then all that is required to understand the phenomena. Just such an experiment is described below. First, however, we shall discuss those features of MHD which the experiment is intended to illustrate.

1.3.1 Some Important Parameters in Electrodynamics and MHD

Let us introduce some notation. Let μ be the permeability of free space, σ and ρ denote the electrical conductivity and density of the conducting medium, and be a characteristic length scale. Three important parameters in MHD are

Magnetic Reynolds number,Rm=μσuAlfvén velocity,υa=B/ρμMagnetic damping time,τ=[σB2/ρ]1

The first of these parameters may be considered as a dimensionless measure of the conductivity, while the second and third quantities have the dimensions of speed and time, respectively, as their names suggest.

Now we have already hinted that magnetic fields behave very differently depending on the conductivity of the medium. In fact, it turns out to be Rm, rather than σ, which is important. Where Rm is large, the magnetic field lines act rather like elastic bands frozen into the conducting medium. This has two consequences. First, the magnetic flux passing through any closed material loop (a loop always composed of the same material particles) tends to be conserved during the motion of the fluid. This is indicated in Figure 1.1. Second, as we shall see, small disturbances of the medium tend to result in near-elastic oscillations, with the magnetic field providing the restoring force for the vibration. In a fluid, this results in Alfvén waves, which turn out to have a frequency of ϖ ~ υa/.

When Rm is small, on the other hand, u has little influence on B, the induced field being negligible by comparison with the imposed field. The magnetic field then behaves quite differently. We shall see that it is dissipative in nature, rather than elastic, damping mechanical motion by converting kinetic energy into heat via Joule dissipation. The relevant time scale is now the damping time, τ, rather than /υa.

All of this is dealt with more fully in Chapters 5, 6 and 7. The purpose of this section is to show how a familiar high school experiment is sufficient to expose these two very different types of behaviour, and to highlight the important roles played by Rm, υa and τ.

1.3.2 Electromagnetism Remembered

Let us start with a reminder of the elementary laws of electromagnetism. (A more detailed discussion of these laws is given in Chapter 2.) The laws which concern us here are those of Ohm, Faraday and Ampère. We start with Ohm’s law.

This is an empirical law which, for stationary conductors, takes the form J = σE, where E is the electric field and J the current density. We interpret this as J being proportional to the Coulomb force f = qE which acts on the free charge carriers, q being their charge. If, however, the conductor is moving in a magnetic field with velocity u, the free charges will experience an additional force, qu × B, and Ohm’s law becomes (Figure 1.2)

(1.1)
J = σ(E + u × B)
J=σ(E+u×B)

Figure 1.2 Ohm’s law in stationary and moving conductors.

The quantity E + u × B, which is the total electromagnetic force per unit charge, arises frequently in electrodynamics and it is convenient to give it a label. We use

(1.2)
Er = E + u × B = f/q.
Er=E+u×B=f/q.

Formally, Er is the electric field measured in a frame of reference moving with velocity u relative to the laboratory frame (see Chapter 2). However, for our present purposes it is more useful to think of Er as f/q. Some authors refer to Er as the effective electric field. In terms of Er, (1.1) becomes J =σEr.

Faraday’s law tells us about the EMF which is generated in a conductor as a result of (i) a time-dependent magnetic field or (ii) the motion of a conductor within a magnetic field (Figure 1.3). In either case, Faraday’s law may be written as

(1.3)EMF=CErdl=ddtSBdS.

Here, C is a closed curve composed of line elements dl. The curve may be fixed in space or it may move with the conducting medium (if the medium does indeed move). S is any surface which spans C. (We use the right-hand convention to define the positive directions of dl and dS.) The subscript on Er indicates that we must use the ‘effective’ electric field for each line element

(1.4)Er=E+u×B,

where E, u and B are measured in the laboratory frame and u is the velocity of the line element dl.

Figure 1.3 Faraday’s law: (a) the EMF generated by movement of a conductor, (b) the EMF generated by a time-dependent magnetic field.

Next, we need Ampère’s law. This (in a round-about way) tells us about the magnetic field associated with a given distribution of current, J. If C is a closed curve drawn in space and S is any surface spanning that curve, then Ampère’s circuital law states that (Figure 1.4)

(1.5)CBdl=μSJdS.

Figure 1.4 Ampère’s law applied to a wire.

Finally, there is the Lorentz force, F. This acts on all conductors carrying a current in a magnetic field. It has its origins in the force acting on individual charge carriers, f = q(u × B), and it is easy to show that the force per unit volume of the conductor is given by

(1.6)
F = J × B.
F=J×B.

1.3.3 A Familiar High School Experiment

We now turn to the laboratory experiment. Consider the apparatus illustrated in Figure 1.5. This is frequently used to illustrate Faraday’s law of induction. It consists of a horizontal, rectangular circuit sitting in a vertical magnetic field, B0. The circuit is composed of a frictionless, conducting slide which is free to move horizontally between two rails. We take the rails and slide to have a common thickness Δ and to be made from the same material. To simplify matters, we shall also suppose that the depth of the apparatus is much greater than its lateral dimensions, L and W, so that we may treat the problem as two-dimensional. Also, we take Δ to be much smaller than L or W.

Figure 1.5 A simple experiment for illustrating MHD phenomena.

We now show that, if the slide is given a tap, and it has a high conductivity, it simply vibrates as if held in place by a (magnetic) spring. On the other hand, if the conductivity is low, it moves forward as if immersed in treacle, slowing down on a time scale of τ.

Suppose that, at t = 0, the slide is given a forward motion, u. This movement of the slide will induce a current density, J, as shown. This, in turn, produces an induced field Bi which is negligible outside the closed current path but is finite and uniform within the current loop. It may be shown, from Ampère’s law, that Bi is directed downward (Figure 1.6) and has a magnitude and direction given by

(1.7)
Bi = − (μΔJ)êz.
Bi=(μΔJ)e^z.

Note that the direction of Bi is such as to try to maintain a constant flux in the current loop (Lenz’s law).

Figure 1.6 Direction of the magnetic field induced by current in the slide.

Next we combine (1.1) and (1.3) to give

(1.8)1σCJdl=ddtSBdS,

where C is the material circuit comprising the slide and the return path for J. This yields

(1.9)dΦdt=ddt[LW(B0μΔJ)]=2(L+W)Jσ,

where Φ = (B0μΔJ)LW is the flux through the circuit. Finally, the Lorentz force (per unit depth) acting on the slide is

(1.10)F=J(B0μΔJ/2)ΔWe^x,

where the expression in brackets represents the average field within the slide (Figure 1.7). The equation of motion for the slide is therefore

(1.11)ρd2Ldt2=ρdudt=J(B0μΔJ/2),

where ρ is the density of the metal.

Figure 1.7 Lorentz force acting on the slide.

Equations (1.9) and (1.11) are sufficient to determine the two unknown functions L(t) and J(t). Let us introduce some simplifying notation: Bi = μΔJ, ℓ = ΔW/L, T = μσΔW and Rm = μσuℓ = uT/L. Evidently, Bi is the magnitude of the induced field, is a characteristic length scale, and T is a measure of the conductivity, σ, which happens to have the dimensions of time. Our two equations may be rewritten as

(1.12)ddt[L(B0Bi)]=2(L+W)BiT,

and

(1.13)ρΔd2Ldt2=ρΔdudt=(B0Bi)22μB022μ.

Now we might anticipate that the solutions of (1.12) and (1.13) will depend on the conductivity of the apparatus, as represented by T, and so we consider two extreme cases:

  1. (a) high conductivity limit, uL1T,(Rm=μσu1),

  2. (b) low conductivity limit, uL1T,(Rm=μσu1).

In the high conductivity limit the right-hand side of (1.12) may be neglected and so the flux Φ linking the current path is conserved during the motion. In such cases we may look for solutions of (1.13) of the form L = L0 + η, where η is an infinitesimal change of L and L0 = Φ/B0W. Noting that Φ is constant and equal to L0B0W, and retaining only leading-order terms in η, (1.13) yields

(1.14)d2ηdt2+B02ρμΔL0η=0.

Thus, when the magnetic Reynolds number is high, the slide oscillates in an elastic manner, with an angular frequency of ϖυa/ΔL0, υa being the Alfvén velocity. In short, if we tap the slide it will vibrate (Figure 1.8). It seems to be held in place by the magnetic field.

Figure 1.8 Oscillation of the slide when Rm ≫ 1.

Now consider the low conductivity limit, Rm ≪ 1. In this case the induction equation (1.12) tells us that BiB0 and so the left-hand side of (1.12) reduces to uB0. Substituting for Bi (in terms of u) in the equation of motion (1.13) then yields

(1.15)dudt+W2(L+W)(σB02ρ)u=0.

Again we look for solutions of the form L = L0 + η, with ηL0 and L0 = L(t = 0). This time u declines exponentially on a time scale of τ=(σB02/ρ)1, the magnetic damping time (Figure 1.9). The magnetic field now appears to play a dissipative role. Indeed, it is not difficult to show that

(1.16)dEdt=(J2/σ)dV,

where the volume integral is taken over the entire conductor and E is the kinetic energy of the slide. Thus the mechanical energy of the slide is lost to heat via Ohmic dissipation.

Figure 1.9 Motion of the slide when Rm ≪ 1.

Let us summarise our findings. When Rm ≫ 1, and the slide is abruptly displaced from its equilibrium position, it oscillates in an elastic manner at a frequency proportional to the Alfvén velocity. During the oscillation the magnetic flux trapped between the slide and the rails remains constant. If Rm ≪ 1, on the other hand, and the slide is given a push, it moves forward as if it were immersed in treacle. Its kinetic energy decays exponentially on a time scale of τ=(σB02/ρ)1, the energy being lost to heat via Ohmic dissipation. Also, when Rm is small, the induced magnetic field is negligible.

We shall see that precisely the same behaviour occurs in fluids. The counterpart of the vibration is an Alfvén wave (Figure 1.10), which is a common feature of astrophysical MHD. In liquid-metal MHD, on the other hand, the primary role of B is to dissipate mechanical energy on a time scale of τ.

Figure 1.10 Alfvén waves. A magnetic field behaves like a plucked string, transmitting transverse inertial wave with a phase velocity of υa.

We have yet to explain these two types of behaviour. Consider first the high-Rm case. Here the key equation is Faraday’s law in the form (1.8),

(1.17)1σCJdl=ddtSBdS.

As σ → ∞, the flux enclosed by the slide and rails must be conserved. If the slide is pushed forward, J = Bi/μΔ must rise to conserve Φ. The Lorentz force therefore increases until the slide is halted. At this point the Lorentz force J × B is finite but u is zero and so the slide starts to return. The induced field Bi, and hence J, now falls to maintain the magnetic flux. Eventually the slide returns to its equilibrium position and the Lorentz force falls to zero. However, the inertia of the slide carries it over its neutral point and the whole process now begins in reverse. This sequence of events is illustrated in Figure 1.11. It is the conservation of magnetic flux, combined with the inertia of the conductor, which leads to oscillations in this experiment, and to Alfvén waves in plasmas.

Figure 1.11 Mechanism for oscillation of the slide. (a) Slide moves forward while keeping the flux constant. (b) Slide reaches a halt. (c) Slide reverses. (d) L returns to L0 and J falls to zero.

Now consider the case where Rm ≪ 1. It is Ohm’s law which plays the critical role here. The high resistivity of the circuit means that the currents, and hence induced field, are small. We may consider B to be approximately equal to the imposed field, B0. Since B is now almost constant the electric field must be irrotational:

×E=Bt0.

Ohm’s law and the Lorentz force per unit volume now simplify to

(1.18)J=σ[V+u×B0],F=J×B0,

where V is the electrostatic potential. Integrating Ohm’s law around the closed current loop eliminates V and yields a simple relationship between u and J,

2J (L + W) = σWB0u.
2J(L+W)=σWB0u.

The Lorentz force per unit mass becomes

(1.19)Fρ=W2(L+W)(σB02ρ)uuτ,

from which

(1.20)dudtuτ.

Thus the slide slows down exponentially on a time scale of τ. The role of the induced current here is quite different from the high-Rm case. The fact that J creates an induced magnetic field is irrelevant. It is the contribution of J to the Lorentz force J × B0 which is important. This always acts to retard the motion. As we shall see, the two equations, J = σ[−∇V + u × B0] and F = J × B0, are the hallmark of low-Rm MHD.

This familiar high school experiment encapsulates many of the phenomena which will be explored in the subsequent chapters. The main difference is that fluids have, of course, none of the rigidity of electrodynamic machines, and so they behave in more subtle and complex ways. Yet it is precisely this subtlety which makes MHD so intriguing. In summary, then, the implications of our experiment for MHD are as follows:

  1. 1. When the medium is highly conducting (Rm 1), Faraday’s law tells us that the flux through any closed material loop is conserved. When the material loop contracts or expands, currents flow so as to keep the flux constant. These currents lead to a Lorentz force which tends to oppose the contraction or expansion of the loop. The result is an elastic oscillation with a characteristic frequency of the order of υa/ℓ, υa being the Alfvén velocity.

  2. 2. When the medium is a poor conductor (Rm 1), the magnetic field induced by motion is negligible by comparison with the imposed field, B0. The Lorentz force and Ohm’s law simplify to

    F=J×B0,J=σ[V+u×B0].

    The Lorentz force is now dissipative in nature, converting mechanical energy into heat on a time scale of the magnetic damping time, τ.

1.4 A Glimpse at the Astrophysical and Terrestrial Applications of MHD

We close this introductory chapter with a brief overview of the scope of MHD, and of this book. MHD operates on every scale, from the vast to the small. At the large scale, for example, magnetic fields play a central role in the dynamics of stellar accretion discs, generating the turbulence required to diffuse angular momentum across the disc, thus allowing the plasma to shed its angular momentum as it spirals radially inward towards the central star (Figure 1.12). Accretion discs are discussed in Chapter 15.

Figure 1.12 Schematic representation of an accretion disc.

(Courtesy of Phil Armitage.)

Closer to home, sunspots and solar flares are magnetic in origin. Sunspots are caused by buoyant magnetic flux tubes, perhaps 104km in diameter and 105km long, which are generated deep within the interior of the sun and occasionally erupt through the surface of the sun (the photosphere), as shown schematically in Figure 1.13. Sunspots are the footprints of these flux tubes in the photosphere, where the local convective motions are suppressed by the intense magnetic field, leaving the plasma cooler (and hence darker) than it would otherwise be.

Figure 1.13 Schematic of sunspot formation.

In fact, the solar atmosphere is threaded with a complex tangle of magnetic field lines whose origins lie deep below the surface (Figure 1.14). These are constantly being jostled by turbulent motion in the photosphere, which stretches and twists the field lines. Occasionally these magnetic field lines become so stretched that they snap and reconnect, releasing vast amounts of energy in the form of solar flares, eruptive prominences and coronal mass ejections, as shown in Figure 1.15. Sunspots, flares and coronal mass ejections are discussed in Chapter 15.

Figure 1.14 Magnetic flux loops arch up from the photosphere.

(Courtesy of NASA/TRACE.)

Figure 1.15 (a) An eruptive prominence. (b) A quiescent prominence.

The mass and energy released by a solar flare enhances the solar wind which, even during quiescent periods (sunspot minimum), spirals radially outward from the sun, filling interplanetary space and carrying remnants of the solar magnetic field with it (Figure 1.16a). The solar wind sweeps past the earth with a typical velocity of around 400 km/s, but is deflected by the earth’s magnetic field, which spares us from the worst excesses of the wind (Figure 1.16b). The solar wind is discussed in Chapter 15.

Figure 1.16 (a) The solar wind spirals outward from the sun, carrying remnants of the solar magnetic field with it. (b) The interaction of the earth’s magnetic field with the solar wind.

Back on earth, the terrestrial magnetic field is now known to be maintained by fluid motion in the liquid-metal core of the earth (Figure 1.17). This process, called dynamo action, is still a source of much controversy and is reviewed in Chapter 14.

Figure 1.17 Motion in the earth’s core maintains the terrestrial magnetic field.

MHD is also an intrinsic part of controlled thermonuclear fusion. Here plasma temperatures of around 108K must be maintained and magnetic forces are used to confine the hot plasma away from the reactor walls. A simple example of a confinement scheme is shown in Figure 1.18. Unfortunately, such schemes are prone to hydrodynamic instabilities, the nature of which is discussed in Chapter 16.

Figure 1.18 Plasma confinement. A current in the solenoid which surrounds the plasma induces opposite currents in the surface of plasma and the resulting Lorentz force pinches radially inward.

In the metallurgical industries, magnetic fields are routinely used to heat, pump, stir and levitate liquid metals. Perhaps the earliest application of MHD is the electromagnetic pump (Figure 1.19). This simple device consists of mutually perpendicular magnetic and electric fields arranged normal to the axis of a duct. Provided the duct is filled with a conducting liquid, so that currents can flow, the resulting Lorentz force provides the necessary pumping action. First proposed back in 1832, the electromagnetic pump has found its ideal application in fast-breeder nuclear reactors, where it is used to pump liquid sodium coolant through the reactor core.

Figure 1.19 The electromagnetic pump.

Perhaps the most widespread application of MHD in engineering is the use of electromagnetic stirring. A simple example is shown in Figure 1.20. Here the liquid metal which is to be stirred is placed in a rotating magnetic field. In effect, we have an induction motor, with the liquid metal taking the place of the rotor. This is routinely used in casting operations to homogenise the liquid zone of a partially solidified ingot. The resulting motion has a profound influence on the solidification process, ensuring good mixing of the alloying elements and the continual fragmentation of the snowflake-like crystals which form in the melt. The result is a fine-structured, homogeneous ingot. This is discussed in detail in Chapter 11.

Figure 1.20 Magnetic stirring of a steel ingot.

Perversely, in yet other casting operations, magnetic fields are used to dampen the motion of liquid metal. Here we take advantage of the ability of a static magnetic field to convert kinetic energy into heat via Joule dissipation (as discussed in the last section). A typical example is shown in Figure 1.21, in which an intense, static magnetic field is imposed on a casting mould. Such a device is used when the fluid motion within the mould has become so violent that the free surface of the liquid is disturbed, causing oxides and other pollutants to be entrained into the bulk. The use of magnetic damping promotes a more quiescent process, thus minimising contamination. The damping of jets and vortices is discussed in Chapters 6 and 11.

Figure 1.21 Magnetic damping of motion during casting.

Another common application of MHD in metallurgy is magnetic levitation or confinement. This relies on the fact that a high-frequency induction coil repels conducting material by inducing opposing currents in any adjacent conductor. (Opposite currents repel each other.) Thus a ‘basket’ formed from a high-frequency induction coil can be used to levitate and melt highly reactive metals.

MHD is also important in electrolysis, particularly in those electrolysis cells used to reduce aluminium oxide to aluminium. These cells consist of broad but shallow layers of electrolyte and liquid aluminium, with the electrolyte lying on top. Oxide is continually dissolved in the electrolyte and a large current (perhaps 300kAmps) passes vertically downward through the two layers, which reduces the oxide to metal. The process is highly energy intensive, largely because of the high electrical resistance of the electrolyte. For example, in the USA, around 5 per cent of all generated electricity is used for aluminium production (Davidson, Reference Davidson1999). It has long been known that stray magnetic fields can destabilise the interface between the electrolyte and aluminium, in effect, through the generation of interfacial gravity waves (Figure 1.22). In order to avoid this instability, the electrolyte layer must be maintained at a depth above some critical threshold, and this carries with it a severe energy penalty. This instability turns out to involve a rather subtle mechanism, in which interfacial oscillations absorb energy from the ambient magnetic field, converting it into kinetic energy. The stability of aluminium reduction cells is discussed in Chapter 13.

Figure 1.22 Instabilities in an aluminium reduction cell.

There are many other applications of MHD in engineering and metallurgy which, in the interests of brevity, we have not described here. This includes, for example, vacuum-arc melting as a means of purifying titanium and nickel ingots destined for use in aircraft parts (a process which resembles a gigantic electric welding rod – see Chapter 12); electromagnetic launchers, which have the same geometry as Figure 1.6, but where the slide is now a projectile and current is forced down the rails accelerating the slide; and finally a variety of induction melting processes. This latter technology is currently finding favour in the nuclear industry where it is used (with mixed success) to vitrify highly active nuclear waste. Many of these engineering applications, particularly those in aluminium and steel production, are discussed in Davidson (Reference Davidson1999).

It would be wrong, however, to pretend that every engineering venture into MHD has been a success, and so we end this section on a lighter note, describing one of MHD’s less notable developments: that of MHD propulsion for military submarines. Stealth is all-important in the military arena and so, in an attempt to eliminate the detectable (and therefore unwanted) cavitation noise associated with propellers, MHD pumps were once proposed as a propulsion mechanism for submarines. The idea is that sea water is drawn into ducts at the front of the submarine, passed through MHD pumps within the submarine hull, and then expelled at the rear of the vessel in the form of high-speed jets. It is an appealing idea, dating back to the 1960s, and in principle it works, as demonstrated in Japan by the surface ship YAMATO. Indeed, this idea has even found its way into popular fiction! The concept found renewed favour with the military authorities in the 1980s (the armaments race was at fever pitch) and serious design work commenced. Unfortunately, however, there is a catch. It turns out that the conductivity of sea water is so poor that the efficiency of such a device is, at best, a few per cent, nearly all of the energy going to heat the water. Worse still, the magnetic field required to produce a respectable thrust is massive, at the very limits of the most powerful superconducting magnets. So, while in principle it is possible to eliminate propeller cavitation, in the process a (highly detectable) magnetic signature is generated, to say nothing of the thermal and chemical signatures induced by electrolysis in the ducts. To track an MHD submarine, therefore, you simply have to borrow a Gauss meter, buy a thermometer, invest in litmus paper, or just follow the trail of dead fish!

Exercises

1.1 A bar of small but finite conductivity slides at a constant velocity u along conducting rails in a region of uniform magnetic field. The resistance in the circuit is R and the inductance is negligible. Calculate: (i) the current I flowing in the circuit; (ii) the power required to move the bar; and (iii) the Ohmic losses in the circuit.

1.2 A square metal bar of length and mass m slides without friction down parallel conducting rails of negligible resistance. The rails are connected to each other at the bottom by a resistanceless rail parallel to the bar, so that the bar and rails form a closed loop. The plane of the rails makes an angle θ with the horizontal, and a uniform vertical field, B, exists throughout the region. The bar has a small but finite conductivity and has a resistance of R. Show that the bar acquires a steady velocity of u = mgR sin θ/(Bℓ cos θ)2.

1.3 A steel rod is 0.5 m long and has a diameter of 1cm. It has a density and conductivity of 7 × 103kg/m3 and 106mho/m, respectively. It lies horizontally with its ends on two parallel rails, 0.5 m apart. The rails are perfectly conducting and are inclined at an angle of 15° to the horizontal. The rod slides up the rails with a coefficient of friction of 0.25, propelled by a battery which maintains a constant voltage difference of 2V between the rails. There is a uniform, unperturbed vertical magnetic field of 0.75T. Find the velocity of the bar when travelling steadily.

1.4 When Faraday’s and Ohm’s laws are combined, we obtain (1.8). Consider an isolated flux tube sitting in a perfectly conducting fluid and let Cm be a material curve (a curve always composed of the same material) which at some initial instant encircles the flux tube, lying on the surface of the tube. Show that the flux enclosed by Cm will remain constant as the flow evolves, and that this is true of each and every curve enclosing the tube at t = 0. This suggests that the tube itself moves with the fluid, as if frozen into the medium. Now suppose that the diameter of the flux tube is very small. What does this tell us about magnetic field lines in a perfectly conducting fluid?

1.5 Consider a two-dimensional flow consisting of an (initially) thin jet propagating in the x-direction and sitting in a uniform magnetic field which points in the y-direction. The magnetic Reynolds number is low. Show that the Lorentz force (per unit volume) acting on the fluid is −σuxB2êx. Now consider a fluid particle sitting on the axis of the jet. It has an axial acceleration of ux(ux/x). Show that the jet is annihilated within a finite distance of L ~ u0τ, where u0 is the initial value of ux. (τ is the magnetic damping time, introduced in §1.3.1.)

1.6 Calculate the magnetic Reynolds number for motion in the core of the earth, using the radius of the core, Rc = 3500km, as the characteristic length scale and u ~ 2 × 10−4m/s as a typical velocity. Take the conductivity of iron as 106mho/m. Now calculate the magnetic Reynolds number for motion in the outer regions of the sun, taking ~ 103km, u ~ 1km/s and σ = 104mho/m. Explain why it is difficult (if not impossible) to model the dynamics of the solar dynamo and geodynamo using scaled laboratory experiments with liquid metals (although some people have tried – see Chapter 14).

1.7 Magnetic forces are sometimes used to levitate objects. For example, if a metal object is situated near a coil carrying an alternating current I, eddy currents will flow in the object and a repulsive force will result. Show that the force in the x-direction is 12I2(L/x) if the object is allowed to move in the x-direction and L is the effective inductance of the coil.

Footnotes

1 The study of magnetically polarised fluids is called ferrohydrodynamics, and such fluids are referred to as magnetic fluids.

Figure 0

Figure 1.1 Interaction of a magnetic field and a moving wire loop.

Figure 1

Figure 1.2 Ohm’s law in stationary and moving conductors.

Figure 2

Figure 1.3 Faraday’s law: (a) the EMF generated by movement of a conductor, (b) the EMF generated by a time-dependent magnetic field.

Figure 3

Figure 1.4 Ampère’s law applied to a wire.

Figure 4

Figure 1.5 A simple experiment for illustrating MHD phenomena.

Figure 5

Figure 1.6 Direction of the magnetic field induced by current in the slide.

Figure 6

Figure 1.7 Lorentz force acting on the slide.

Figure 7

Figure 1.8 Oscillation of the slide when Rm ≫ 1.

Figure 8

Figure 1.9 Motion of the slide when Rm ≪ 1.

Figure 9

Figure 1.10 Alfvén waves. A magnetic field behaves like a plucked string, transmitting transverse inertial wave with a phase velocity of υa.

Figure 10

Figure 1.11 Mechanism for oscillation of the slide. (a) Slide moves forward while keeping the flux constant. (b) Slide reaches a halt. (c) Slide reverses. (d) L returns to L0 and J falls to zero.

Figure 11

Figure 1.12 Schematic representation of an accretion disc.

(Courtesy of Phil Armitage.)
Figure 12

Figure 1.13 Schematic of sunspot formation.

Figure 13

Figure 1.14 Magnetic flux loops arch up from the photosphere.

(Courtesy of NASA/TRACE.)
Figure 14

Figure 1.15 (a) An eruptive prominence. (b) A quiescent prominence.

Figure 15

Figure 1.16 (a) The solar wind spirals outward from the sun, carrying remnants of the solar magnetic field with it. (b) The interaction of the earth’s magnetic field with the solar wind.

Figure 16

Figure 1.17 Motion in the earth’s core maintains the terrestrial magnetic field.

Figure 17

Figure 1.18 Plasma confinement. A current in the solenoid which surrounds the plasma induces opposite currents in the surface of plasma and the resulting Lorentz force pinches radially inward.

Figure 18

Figure 1.19 The electromagnetic pump.

Figure 19

Figure 1.20 Magnetic stirring of a steel ingot.

Figure 20

Figure 1.21 Magnetic damping of motion during casting.

Figure 21

Figure 1.22 Instabilities in an aluminium reduction cell.

Accessibility standard: Unknown

Why this information is here

This section outlines the accessibility features of this content - including support for screen readers, full keyboard navigation and high-contrast display options. This may not be relevant for you.

Accessibility Information

Accessibility compliance for the HTML of this book is currently unknown and may be updated in the future.

Save book to Kindle

To save this book to your Kindle, first ensure no-reply@cambridge.org is added to your Approved Personal Document E-mail List under your Personal Document Settings on the Manage Your Content and Devices page of your Amazon account. Then enter the ‘name’ part of your Kindle email address below. Find out more about saving to your Kindle.

Note you can select to save to either the @free.kindle.com or @kindle.com variations. ‘@free.kindle.com’ emails are free but can only be saved to your device when it is connected to wi-fi. ‘@kindle.com’ emails can be delivered even when you are not connected to wi-fi, but note that service fees apply.

Find out more about the Kindle Personal Document Service.

Available formats
×

Save book to Dropbox

To save content items to your account, please confirm that you agree to abide by our usage policies. If this is the first time you use this feature, you will be asked to authorise Cambridge Core to connect with your account. Find out more about saving content to Dropbox.

Available formats
×

Save book to Google Drive

To save content items to your account, please confirm that you agree to abide by our usage policies. If this is the first time you use this feature, you will be asked to authorise Cambridge Core to connect with your account. Find out more about saving content to Google Drive.

Available formats
×